Fale conosco no WhatsApp

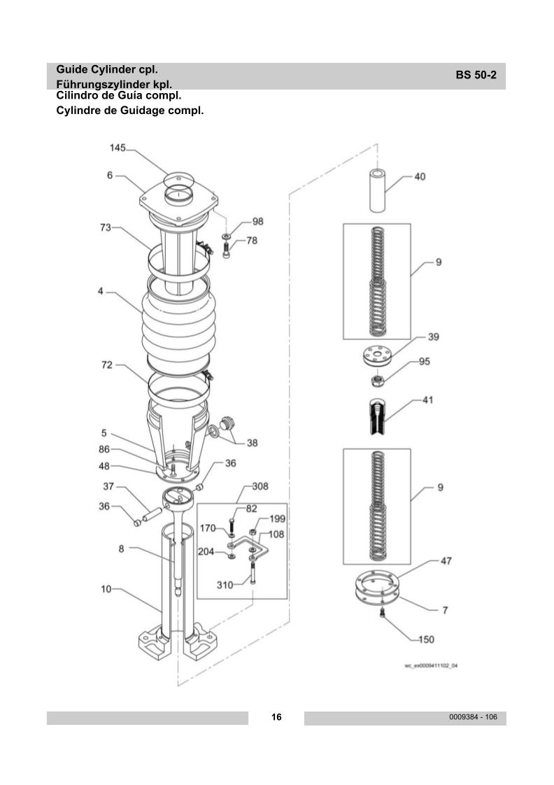
Vista explodida com todas as peças do compactador de solo BS50-2 do fabricante Wacker Neuson!

Entre em contato com os nossos vendedores 047 997661600

 
 

Solicite um contato:

Preencha o formulário abaixo:

Confira também:

SAPATA USINADA EM ALUMÍNIO BOMAG BT-60/65

Confira

CILINDRO GUIA FUNDIDO SRV550-2/SW550 - WEBERMT WOLKAN

Confira

TORNEIRA DE COMBUSTÍVEL SRV620/SRV550 WEBERMT/WOLKAN

Confira

SAPATA PARA COMPACTADOR DE SOLO CSM - CS73 - ORIGINAL

Confira

Vela de Ignição motor TE40Z compactador de solo TTR80

Confira

VISTA EXPLODIDA COMPACTADOR DE SOLO SRV620 WEBERMT/WOLKAN

Confira

MOLA EXTERNA DE PERCUSSÃO SRX/SRV WEBERMT/WOLKAN

Confira

FLANGE SRV660 EH12 WEBERMT/WOLKAN

Confira

Compactador de Solo SRV620 com motor Honda GXR120 Weber

Confira

SANFONA DO COMPACTADOR SRX/v50/60/62/620/65/66

Confira

Compactador de Solo TOYAMA TTR80-XP

Confira

VISTA EXPLODIDA COMPACTADOR DE SOLO HUSQVARNA LT6005

Confira

VISTA EXPLODIDA COMPACTADOR TTR80X-TTR80XP TOYAMA

Confira

Filtro de Combustível para Compactador de solo Multimarcas

Confira

SANFONA DO COMPACTADOR CSM/CS63/68/73

Confira